登录  免费注册

安阳高新区国家级示范生产力促进中心

Anyang High-tech Zone National Demonstration Productivity Promotion Center

首页 平台简介 科技成果转移转化 专利监控管理系统(RIMS) 五大产业数据库 科技创新主体展示 技术合同登记展示

纤维增强再生砖骨料混凝土剪切试验装置及方法

发布时间:2025-10-10
  • 专利类型:发明专利
  • 日期 :2025-10-10
  • 专利名称:纤维增强再生砖骨料混凝土剪切试验装置及方法
  • 专利权人 : 安阳师范学院
  • 联系电话 :2110568

交易价格(万元):面谈

专利详情

专利类别 :发明专利 专利号 : 202111394327.8 申请日期 : 2019-01-25
公开日期 :2022-08-19 专利名称 : 纤维增强再生砖骨料混凝土剪切试验装置及方法 专利权人 :安阳师范学院
国际分类号: 暂无 范畴分类号 : 暂无 行业分类 : 暂无
详情介绍:

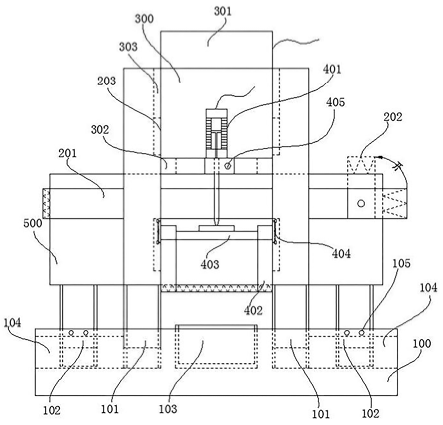
本发明属于节能环保的新材料相关服务产业,涉及IPC G01N3/02用机械应力测试固体材料的强度特性的零部件,尤其涉及其下级IPC G01N 3/04夹具,公开了一种纤维增强再生砖骨料混凝土剪切性能试验装置,包括底座、可升降滑动支座、可升降固定支座、顶推支座、试件夹具、位移量测组件和承压块,试件夹具上设置有承压块轨槽,试件加持定位布设在试件夹具中;承压块匹配滑动设置在承压块轨槽中,且承压块上设置有剪切刀头。还公开了一种相应的剪切性能试验方法。本发明能够方便、准确的测量试件的剪切变形和剪切强度,无需安装辅助装置和绘制控制线,极大的提高了量测数据的准确性和试验的成功率,简化了试验过程。

服务流程

服务流程

买方卖方

身份 买家提供 卖家提供 交易服务 过户后您将会获得
企业

企业申请

执照

企业营业执照

组织机构代码证

执照

企业营业执照

专利证书证件

专利代理委托书
专利权转让协议
办理文件副本请求书
发明人变更声明

专利委托书

手续合格通知书

专利登记薄副本

个人

个人申请

身份

身份证

执照

身份证

专利证书证件

服务承诺

  • 证明

    确保拿到
    核准专利转让证明

  • 证明

    确保拿到
    转让受理通知书

  • 证明

    专利转让
    全程监控

  • 证明

    专利转让完成
    享受专利最低待遇

  • 证明

    免费客服热线
    快速回复客户问题

安阳高新区国家级示范生产力促进中心

浏览量: 1396271人

联系电话:0372-2110568

传真:0372-2110568

地址:河南省安阳市高新区弦歌大道与峨嵋大街交叉口向东100米路南科创大厦

www.ayipx.cn 版权所有 严禁转载!豫ICP备17028958号 公网安备 41050202000126 河南相映红信息技术有限公司 【后台管理】

0372-2110568