登录  免费注册

安阳高新区国家级示范生产力促进中心

Anyang High-tech Zone National Demonstration Productivity Promotion Center

首页 平台简介 科技成果转移转化 专利监控管理系统(RIMS) 五大产业数据库 科技创新主体展示 技术合同登记展示

一种建筑施工多点实时数据测量设备及汇总方法

发布时间:2025-10-10
  • 专利类型:发明专利
  • 日期 :2025-10-10
  • 专利名称:一种建筑施工多点实时数据测量设备及汇总方法
  • 专利权人 : 陕西锦匠建设工程有限公司
  • 联系电话 :2110568

交易价格(万元):面谈

专利详情

专利类别 :发明专利 专利号 : 202110254615.7 申请日期 : 2021-03-09
公开日期 :2022-11-18 专利名称 : 一种建筑施工多点实时数据测量设备及汇总方法 专利权人 : 陕西锦匠建设工程有限公司
国际分类号: 暂无 范畴分类号 : 暂无 行业分类 : 暂无
详情介绍:

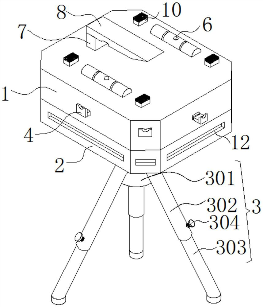
本发明公开了一种建筑施工多点实时数据测量设备及汇总方法,包括以下步骤:a、调节支架,使支架根据水平泡进行调节。本发明可实时的对尺寸和平整度进行测量;同时对墙面的尺寸和平整度进行规范,通过设置测量箱、平行箱、支撑调节机构、支撑座、第一支撑杆、第二支撑杆、限位螺钉、直线尺、度线状激光器、水平泡、第一固定块、卡接板、卡接机构、U型卡圈、抵动垫、第一固定杆、固定柱和限位块的配合使用,解决了现有建筑施工数据采集只能进行单方位和单角度测量,施工地面只能与相近的地面进行水平测量,无法对墙面的尺寸和平整度进行规范,从而造成在多方位施工时,无法及时发现尺寸偏差和平整度的问题。

服务流程

服务流程

买方卖方

身份 买家提供 卖家提供 交易服务 过户后您将会获得
企业

企业申请

执照

企业营业执照

组织机构代码证

执照

企业营业执照

专利证书证件

专利代理委托书
专利权转让协议
办理文件副本请求书
发明人变更声明

专利委托书

手续合格通知书

专利登记薄副本

个人

个人申请

身份

身份证

执照

身份证

专利证书证件

服务承诺

  • 证明

    确保拿到
    核准专利转让证明

  • 证明

    确保拿到
    转让受理通知书

  • 证明

    专利转让
    全程监控

  • 证明

    专利转让完成
    享受专利最低待遇

  • 证明

    免费客服热线
    快速回复客户问题

安阳高新区国家级示范生产力促进中心

浏览量: 1396271人

联系电话:0372-2110568

传真:0372-2110568

地址:河南省安阳市高新区弦歌大道与峨嵋大街交叉口向东100米路南科创大厦

www.ayipx.cn 版权所有 严禁转载!豫ICP备17028958号 公网安备 41050202000126 河南相映红信息技术有限公司 【后台管理】

0372-2110568