登录  免费注册

安阳高新区国家级示范生产力促进中心

Anyang High-tech Zone National Demonstration Productivity Promotion Center

首页 平台简介 科技成果转移转化 专利监控管理系统(RIMS) 五大产业数据库 科技创新主体展示 技术合同登记展示

滚轮滑块的导轨装置

发布时间:2018-07-10 09:06
  • 专利类型:发明专利
  • 日期 :2018-07-10 09:06
  • 专利名称:滚轮滑块的导轨装置
  • 专利权人 : 匿名
  • 联系电话 :0372-2110568

交易价格(万元):面谈

专利详情

专利类别 :发明专利 专利号 : CN201310046040.5 申请日期 : 2013-02-05 09:06
公开日期 : 专利名称 : 滚轮滑块的导轨装置 专利权人 :匿名
国际分类号: 暂无 范畴分类号 : 暂无 行业分类 : 暂无
详情介绍:

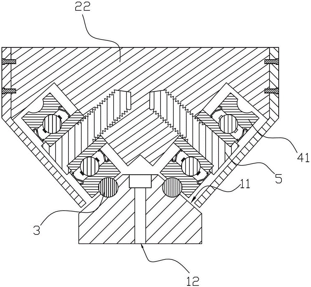
一种滚轮滑块的导轨装置,包括有滑块(2)与导轨(1),所述滑块(2)能滑动地设置于导轨(1)上,其特征在于:所述导轨(1)的两边分别设置有斜面(11),在所述斜面(11)轴向分别设置有凸起的滑轨(3),在每条滑轨(3)上设置有能沿滑轨(3)滑动的滚动轴承(4),所述滚动轴承(4)的外圈(41)的外周面上设置有环形凹槽,所述环形凹槽的形状与滑轨(3)的外表面形状相适配,所述滚动轴承(4)分别通过固定装置(5)与滑块(2)中的滑块架体(22)固定在一起。与现有技术相比,本发明滚轮滑块导轨装置的优点在于:所述导轨两边斜面呈90°直角及两边滚动轴承对应90°径向夹角的设计,保证了滑块与导轨的最佳受力,定位精度高,辅之嵌以圆柱杆滑轨的设置,降低了摩擦系数,滑块行走顺畅度佳;更为重要的是,本滚轮滑块导轨装置成本小,高负荷能力,适合高速化之应用。

服务流程

服务流程

买方卖方

身份 买家提供 卖家提供 交易服务 过户后您将会获得
企业

企业申请

执照

企业营业执照

组织机构代码证

执照

企业营业执照

专利证书证件

专利代理委托书
专利权转让协议
办理文件副本请求书
发明人变更声明

专利委托书

手续合格通知书

专利登记薄副本

个人

个人申请

身份

身份证

执照

身份证

专利证书证件

服务承诺

  • 证明

    确保拿到
    核准专利转让证明

  • 证明

    确保拿到
    转让受理通知书

  • 证明

    专利转让
    全程监控

  • 证明

    专利转让完成
    享受专利最低待遇

  • 证明

    免费客服热线
    快速回复客户问题

安阳高新区国家级示范生产力促进中心

浏览量: 1396337人

联系电话:0372-2110568

传真:0372-2110568

地址:河南省安阳市高新区弦歌大道与峨嵋大街交叉口向东100米路南科创大厦

www.ayipx.cn 版权所有 严禁转载!豫ICP备17028958号 公网安备 41050202000126 河南相映红信息技术有限公司 【后台管理】

0372-2110568